| Sign In | Join Free | My chinacomputerparts.com |
|
Brand Name : CSCE
Model Number : SC1018-S59 (173-12)
Certification : ROHS UL CEM
Place of Origin : Shenzhen , China
MOQ : 500pcs
Price : Negotiable
Payment Terms : L/C, D/A, D/P, T/T, , Western Union, MoneyGram
Supply Ability : 150K pcs/day
Delivery Time : 7-10 days
Packaging Details : Tray in Carton
Gender : Female
name : RJ45 magnetic jack
Application : PCB
Shielding : Shielded
Rated voltage : 125VAC
| Shielded With Leds 10/100 Base - T 2x6 Port Magnetic RJ45 Jack With EMI |
Product Details:
| Material Housing | Thermoplastic,PBT,UL94V-0,Black |
| Material Contact/Shield | Copper Alloy |
| Material Shield Plating | Nickel |
| Material Contact Plating | Selective gold 6u'' Min |
| Turn Ratio(+/-2%) | 1CT:1CT |
| DCR | 1.2OHM Max |
| Inductance OCL | 350uH Min @100KHz/0.1V DC Bias 8mA |
| Insertion Loss | -1.0dB Max @1.0-100MHz |
| -1.2dB Max @100-125MHz | |
| Return Loss | -20dB Min @1-30MHz |
| -16dB Min@30-60MHz | |
| -12dB Min @60-80MHz | |
| -10dB Min @80-100MHz | |
| Cross Talk | -40dB Min @1-30MHz |
| -35dB Min @30-60MHz | |
| -30dB Min @60-100MHz | |
| Storage Temperature | -40℃-+80℃ |
| Common Mode Rejection | -30dB Min @1-50 MHz |
| -20dB Min @50-150 MHz | |
| Hipot Test | 1500Vrms 1mA Max |
Competitive prices and services:
More competitive prices than pulsed Tico halos and aphorol
Delivery time: 2-3 weeks after order
Samples provided free of charge
New designs to meet customer requirements
DHL UPS DEDEX or TNT reduces shipping costs by 90%
Product Specification:
| Specification: | Magnetic RJ45 Jack | Cross Part NO: | SC1018-S59(173-12) |
| Latch: | Tab Down | Samples: | Available 2-3 Pcs |
Product application:
Free for network and communication device sas HUB, PC card, switch, router, PC board, SDH, PDH, IP phone, x DSL modem, call center solution, call set-top box, VOIP gateway, setup protocol gateway, fast Ethernet switch .
Why Choose Us
World’s Leader Supplier Of Integrated RJ45 Connector And Discrete Magnetic Transformers
100% Guarantee Qualtiy
• Manufactured Under Strict Controls.
• 100% Tested (Not Just Batch Tested)
• CSCE Is OEM Of TE (Tyco) For 10 Years
• Successful Customer: Texas Instruments Samsung Cisco Siemens And Intel…
• Quality Guarantee:13Years
FAQ
1. How can i get a sample?
A: just check with our sales.
2. How to develop a new product base on an idea?
A: Tell us what you want, Then we will design it for free.
3. How about OED,ODM?
A: 14 years experiences in OEM,ODM.
4. How to reduce your risk?
A: Check the sample before order.
5. How about the after-sale service?
A: Just tell us the problem after you receive the products.
Then we’ll help you deal with it together.
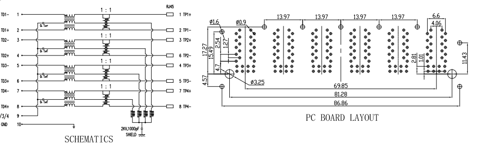
Product Drawing:


|
|
2 X 6 Port RJ45 Magnetic Jack , 10 / 100 Base - T RJ45 PCB Jack ROHS Certification Images |